Ford arbeitet an einer Fake-Handschaltung für Elektroautos. Ein entsprechendes Patent hat der Hersteller nun in den USA hinterlegt.
Ford arbeitet an einer Fake-Handschaltung für Elektroautos. Ein entsprechendes Patent hat der Hersteller nun in den USA hinterlegt.
Auf einem erhöhten Gehäuse ist an der Stelle, wo er sich auch bei Verbrennerfahrzeugen in der Regel befindet, der Ganghebel positioniert.
Beim Ford-Patent funktioniert die "Schaltung" rein elektronisch – und sie simuliert die Gangwechsel nur.
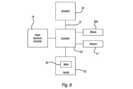
Wenn sich der Schalthebel bewegt, berührt er Aktuatoren, die mit einem elektronischen Leistungsregler verbunden sind.
Dieser steuert den Fluss der vom Akku gelieferten elektrischen Energie, indem er die Geschwindigkeit der Motoren und das von jedem Motor erzeugte Drehmoment regelt.
Der Schalthebel kann in einem klassischen H-Schema oder sequenziell durch Vor- und Zurückschieben in einer Schaltgasse bewegt werden.
Toyota entwickelt für Elektroautos ebenfalls ein Fake-Schaltgetriebe. Diese Technik beleuchten wir auf den folgenden Bildern.
Da es in E-Autos kein echtes Schaltgetriebe gibt, wird das durch die Elektronik simuliert.
Der Schaltwunsch wird von verschiedenen Faktoren abhängig gemacht.
Die Elektronik registriert den Schaltwunsch, fügt eine kleine Zugkraftunterbrechung oder sogar einen Schaltruck ein und stellt dann den Vortrieb wieder her.
Die Zahl der Gangstufen wird dabei künstlich festgelegt. Im Prinzip sind beliebig viele Gänge möglich.
Für den Fahrer bleibt es bei der klassischen Drei-Pedal-Konfiguration.
Im Prinzip wird so der lineare Schub des E-Triebwerks künstlich unterbrochen.
Ein Verschalten ist unmöglich und Kupplung schleifen lassen geht auch nicht.
Das simulierte Getriebe lässt sich auch in verschiedenen Modi einstellen - von komfortabel bis sportlich.
Die Fake-Handschaltung kann auch als "Automatik" genutzt werden.
Auch die Pedalkräfte und Reaktionen können programmiert werden.
In Japan konnte auto motor und sport bereits einen umgerüsteten Prototyp fahren.
Man kann wie bei einem echten manuellen Getriebe kuppeln und schalten, über einen Soundgenerator wird das entsprechende Motorgeräusch eingespielt.
Die Kupplung geht überraschend schwer, der Ganghebel ist knackig geführt, fühlt sich echt an.
Wenn man es nicht besser wüsste, könnte man meinen, einen klassischen Verbrenner mit Handschaltung zu fahren.