Zweitaktmotoren? Da denken viele an den Trabi mit seinem knatternden Zweizylinder-Zweitakter - und den blauen Dunst, den er aus seinem Auspuff ausgeblasen hat.
Zweitaktmotoren? Da denken viele an den Trabi mit seinem knatternden Zweizylinder-Zweitakter - und den blauen Dunst, den er aus seinem Auspuff ausgeblasen hat.
General Motors arbeitet offenbar an einem Zweitakt-Revival mit einem hochinteressanten Ventilsystem.
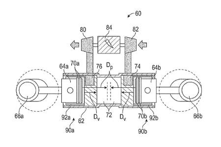
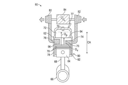
Die im Patent beschriebene zentrale Neuerung ist ein bewegliches Ventilelement, das zwischen dem Kolben und der Zylinderwand in der Nähe der Öffnungen für die Zufuhr von Ansaugluft und die Abgabe von Abgasen positioniert ist.
Seine Aufgabe ist es, die Öffnungen zum richtigen Zeitpunkt im Verbrennungszyklus aufzumachen oder zu schließen.
In der geschlossenen Position deckt das Ventilelement die Öffnung ab, sodass keine Gase entweichen können, und in der offenen Position ermöglicht es den normalen Durchfluss.
Ziel des GM-Patents ist es obendrein, den Zylinder besser abzudichten, als dies bei bisherigen Zweitaktern der Fall ist.
GM gibt in der Patentanmeldung Hinweise, dass der neue Zweitaktmotor in Hybridfahrzeugen zum Einsatz kommen könnte.
Grundsätzlich könnten mit der patentierten Technik ausgerüstete Motoren jedoch in einer Vielzahl von Anwendungen eingesetzt werden, darunter neben Kraftfahrzeugen auch Elektrowerkzeuge, Motorräder, Baumaschinen oder Flugzeuge.