Zweitakter als Range-Extender - rechnet sich das?
Zweitakter mit Comeback-Potenzial: GM meldet ein Patent für ein Ventilsystem an, das Kraftstoffverluste und Verschleiß eindämmt. Ein bewegliches, elektronisch gesteuertes Ventil soll Effizienz und Haltbarkeit heben – als Range-Extender im Hybrid. Rechnet sich das in Deutschland?
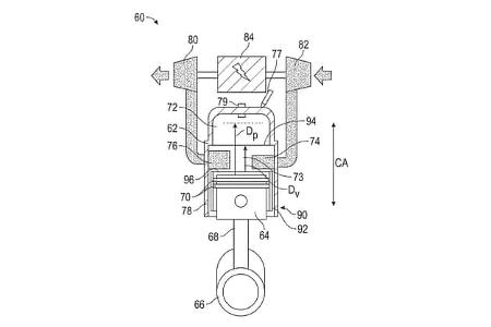
General Motors hat ein Patent für ein innovatives Ventilsystem angemeldet, das die Effizienz und Umweltfreundlichkeit von Zweitaktmotoren erheblich verbessern soll. Das zentrale Element ist ein bewegliches Ventilelement, das die Einlass- und Auslassöffnungen im Zylinder präzise steuert. Diese Technologie verhindert, dass unverbrannter Kraftstoff in die Abgase gelangt, und reduziert so den Schadstoffausstoß. Ein elektronisch gesteuerter Stellantrieb synchronisiert die Bewegung des Ventils mit der Kolbenposition, was eine optimale Abdichtung und Steuerung ermöglicht.
Im Vergleich zu herkömmlichen Zweitaktmotoren, bei denen die Kolbenringe oft an den Kanten der Öffnungen hängen bleiben, bietet das GM-System eine reibungslose Funktion. Dies erhöht nicht nur die Lebensdauer des Motors, sondern verbessert auch die Effizienz und senkt den Kraftstoffverbrauch.
Vergleich mit bestehenden Konzepten
Die Idee, Zweitaktmotoren als Range-Extender einzusetzen, ist nicht neu. Unternehmen wie Alpha-Otto Technologies haben mit ihrem "RevForce"-Motor ähnliche Ansätze verfolgt. Der RevForce-Motor nutzt ein rotierendes Ventil, um die Effizienz zu steigern und Emissionen zu reduzieren. Im Gegensatz dazu setzt GM auf ein lineares Ventilsystem, das eine noch präzisere Steuerung ermöglicht.
Ein weiterer Vergleichspunkt ist die thermische Effizienz. Während Alpha-Otto auf stationäre Anwendungen abzielt, sieht GM den Einsatz in Hybridfahrzeugen vor. Dies könnte den Zweitaktmotor zu einer vielseitigeren Lösung machen, die sowohl in Fahrzeugen als auch in anderen Anwendungen wie Baumaschinen oder Flugzeugen eingesetzt werden kann.
Marktchancen in Deutschland
In Deutschland könnte der Einsatz von Zweitaktmotoren als Range-Extender auf gemischte Reaktionen stoßen. Einerseits bietet die Technologie Vorteile wie eine kompakte Bauweise, geringes Gewicht und hohe Leistungsdichte. Andererseits stehen strenge Emissionsvorschriften und die wachsende Elektrifizierung des Verkehrssektors im Fokus.
Ein entscheidender Faktor wird die Akzeptanz durch die Verbraucher sein. Hybridfahrzeuge mit Range-Extender könnten eine Brücke zwischen rein elektrischen und konventionellen Antrieben schlagen. Allerdings müssen die Hersteller nachweisen, dass die neuen Zweitaktmotoren tatsächlich sauberer und effizienter sind als ihre Vorgänger.
Herausforderungen und Perspektiven
Trotz der vielversprechenden Technologie gibt es Herausforderungen. Die Integration in bestehende Fahrzeugplattformen, die Einhaltung von Emissionsstandards und die Kosten für die Serienproduktion sind nur einige der Hürden. Zudem bleibt abzuwarten, ob die Technologie in der Praxis die Erwartungen erfüllt.
Langfristig könnte der Zweitaktmotor jedoch eine Nische im Markt finden, insbesondere in Anwendungen, bei denen Gewicht und Platz eine Rolle spielen. Die Möglichkeit, verschiedene Kraftstoffe wie Benzin, Erdgas oder Wasserstoff zu nutzen, erhöht die Flexibilität und könnte die Technologie zukunftssicher machen.
